作者:mile米乐集团日期:2026-02-05浏览:来源:mile官网

作为县域高端制造业的排头兵,山东伯雷流体控制设备有限公司紧抓智能化转型,抢抓新年订单机遇,全力冲刺首季开门红。
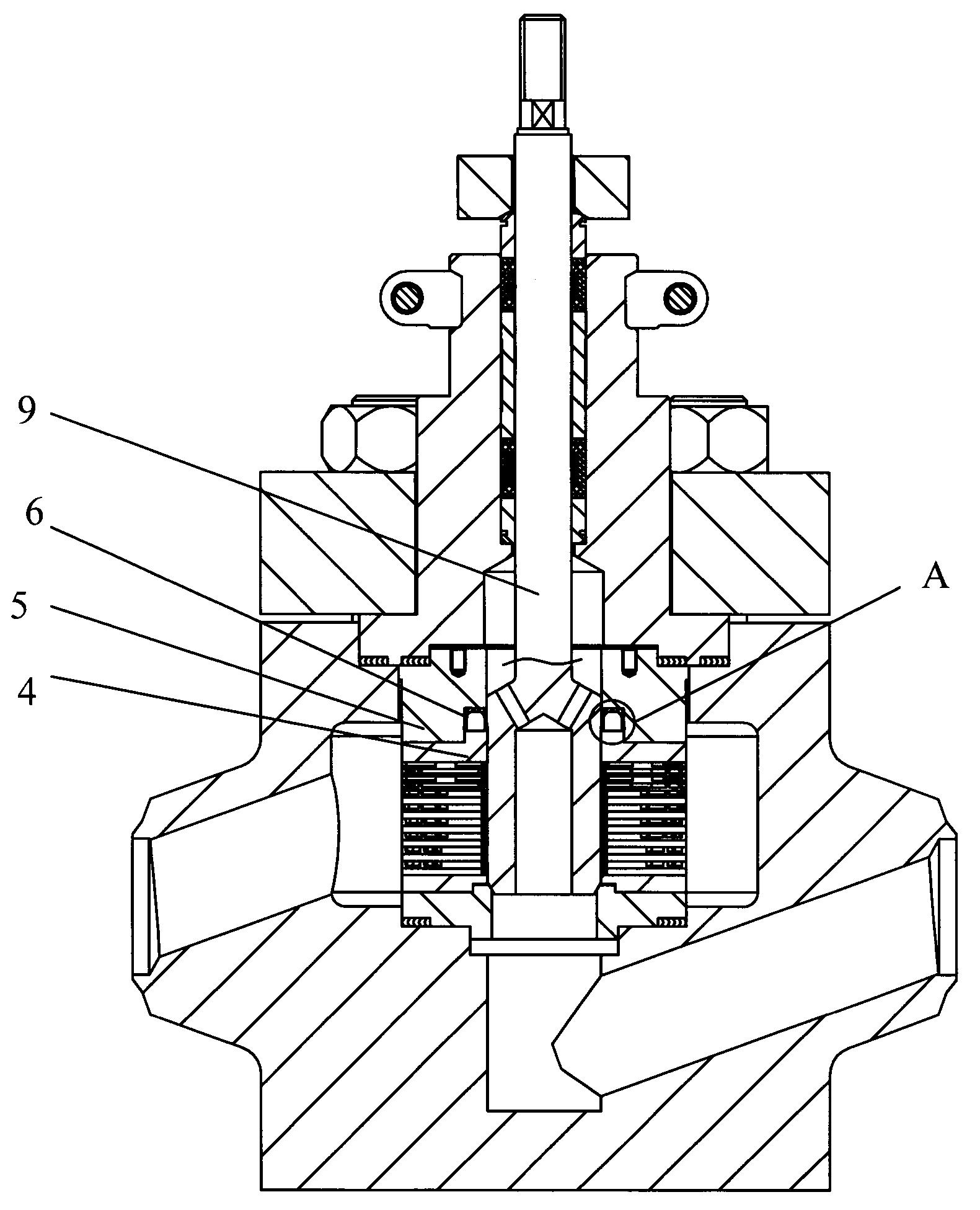
在巨野县智能制造产业园内,山东伯雷流体控制设备有限公司的智能车间里一派热火朝天的生产景象,一百多台精密设备以微米级精度高速运转,工人们专注操控数控机床,三偏心U型金属硬密封蝶阀源源不断下线余个国家和地区。
山东伯雷流体控制设备有限公司生产副总 王桂彬:1月份以来,我们已经接到270余个订单,比去年同期增长70%,目前设备利用率达80%,全力以赴保证订单按时交付。
作为县域高端制造业的排头兵,伯雷流体的智能化转型成效显著。车间内,阀座密封面精度误差控制在10微米以内,相当于头发丝直径的十分之一,所有关键工序均由数控设备和自动化流水生产线完成,信息化管理系统实现生产全流程数字化追溯,产品合格率稳定在99.6%。
山东伯雷流体控制设备有限公司生产副总 王桂彬:下一步,我们会深化与大学以及科研机构之间的合作,每年投入1000万元研发经费,加大产品数字化升级、智能化改造,提高市场竞争力,力争今年产值在2025年基础上增加30%左右。
据媒体2月4日报道,青岛赛诺集团发布讣告,创始人之一陈建红因病医治无效,于2026年2月3日13时36分在青岛离世,年仅48岁。
寒潮将至,预防暴雪和气温骤降影响春运2月4日是中国传统二十四节气中的第一个节气——立春,全国大多地区气温继续升高,江南大部温暖如春。但自5日起,寒潮来袭,中东部将出现剧烈降温和雨雪天气,多个省份将降下大到暴雪或大暴雪,需防范雨雪天气和气温骤降对春运及能源供应带来影响。
河南一小学原校长称因与女教师恋爱被定为师德师风不合格 当地回应:将重新梳理处置流程
大皖新闻讯 2月4日,大皖新闻报道了河南一小学原校长称因与女教师恋爱被定为师德师风不合格一事,教育部门回应称依据纪委处分决定认定一事,引发关注。对此,当地区委有关部门负责人回应大皖新闻记者称,当地领导已亲自安排,将由纪委启动特殊事件的处理程序,重新梳理此事的处置流程。
来源:小朋美食免责声明:图文源于网络,版权归原作者所有,若侵权请联系小编删除,文章内容不代表平台观点。在日常饮食中,馒头作为主食的重要组成部分,其制作方式与健康影响备受关注。近年来,一种说法悄然流传:酵母发酵的馒头。是身体健康的 “腐蚀剂”。
美国国会参议院银行委员会的全体11名人3日致信该委员会主席蒂姆·斯科特,要求推迟候任美联储主席凯文·沃什的全部提名程序,直至针对现任主席鲍威尔等美联储理事的刑事调查终止。多家媒体称,特朗普政府调查鲍威尔等人恐适得其反。
日本首相指名选举拟于2月18日举行;此前高市早苗称“达不成条件将即刻辞职”
据中国新闻网援引据日本共同社3日援引多名相关人士消息,日本政府和执政党已开始协调2月18日召集实施首相指名选举的特别国会。资料图:日本国会议事堂。据报道,被选出的首相将立即着手组建内阁,经在日本皇宫举行的首相任命仪式和内阁大臣认证仪式后,新内阁将正式成立。
回顾过去一周贵金属市场经历了罕见的大起大落国际金价前几天暴跌(早前报道:)自2月3日起展开反弹并于2月4日进一步收复关键点位重回5000美元/盎司上方另据新华社消息金价创下2009年以来最大单日涨幅截至2月4日北京时间15:17,伦敦金现货价格报5068.05美元/盎司。
可现实却给了我们沉重一击:国家癌症中心最新数据显示,我国每天有超过 800 人因肠癌失去生命,且这个数字仍在逐年攀升。
最近有消息说,菲律宾在南海划了个军事演习区,连中国黄岩岛也算进去了,说白了,这就是在侵犯中国的领海、领土和领空,中国在主权问题上,从来都不会让步,肯定要坚决反击。
其实黄金价格受宏观经济、地缘政治、供需关系、市场行为四大核心维度影响,各因素通过不同逻辑共同作用于价格走势: 一、宏观经济与货币政策(核心驱动) 1. 美元指数与黄金负相关 黄金以美元计价,美元走强时,非美元持有者购买成本上升,需求下降;美元走弱时,黄金吸引力增强。
上一篇:较去年同期增长5.15%