作者:mile米乐集团日期:2026-02-08浏览:来源:mile官网

橡胶阀座生产定做电话☎: (同号) 深圳市龙昌硅橡胶电子有限公司是安庆宿松橡胶阀座生产加工供应商,为您提供安庆宿松硅橡胶汽车配件订制厂家、安庆宿松硅胶发泡管现货
欧曼重卡ISG发动机福康阀座修理包5473013EF 3047964-20 喷油器柱塞付总成 3047991-20 喷油器总成 3048294-20 油门操纵杆 3048296 节流轴拉杆 3048514-20 空气跨越管接头 3048689-20 ..
山东圣泽制冷设备有限公司主营冷库内所需产品和各种制冷配件批发. 产品包括大连冰山、大连雪山、烟台冰轮、上海一冷、武汉新世界等品牌的制冷设备及其附属设备,包括低压循环桶、氨
橡胶阀座生产定做电话☎: (同号) 深圳市龙昌硅橡胶电子有限公司是江西萍乡橡胶阀座生产加工供应商,为您提供江西萍乡异形硅胶杂件订做厂家、江西萍乡氟胶条促销、
橡胶阀座生产定做电话☎: (同号) 深圳市龙昌硅橡胶电子有限公司是广东河源橡胶阀座生产加工供应商,为您提供广东河源灯饰灯具o型圈订做厂家、广东河源液压类橡塑制品
橡胶阀座生产定做电话☎: (同号) 深圳市龙昌硅橡胶电子有限公司是福建泉州橡胶阀座生产加工供应商,为您提供福建泉州自粘胶垫销售厂家、福建泉州硅胶片厂家、 泉州
巨坞依据多年的从业经验,专注于船舶发动机配件,有一大批的从业人员,以质量为先,严格控制产品质量,质量可靠的MAN S50MC阀座、阀杆备件产品。【全新/二手】【国产/进口】都有,
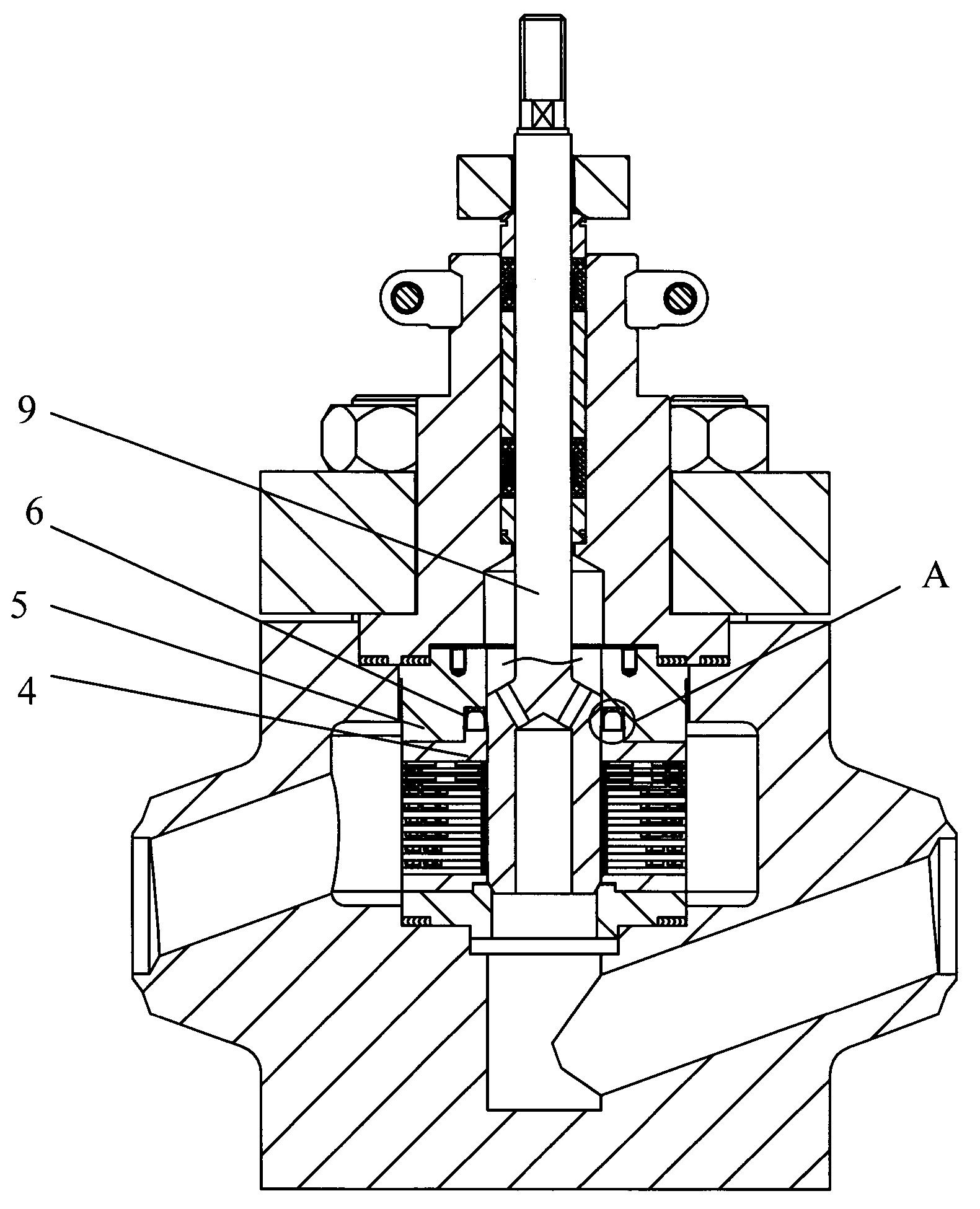
阀门内可拆卸面部件,用于支撑阀芯全关位置,并构成密封副。一般阀座直径即为阀门大流通直径。比如说蝶阀的阀座材质非常广泛金属材料均可作为阀座材质。 公司目前产品主要包括:
阀座密封面是指阀座与阀芯或阀球接触的平面。在制造阀座密封面时,通常采用的加工工艺,确保阀座密封面的平整度和光洁度。通过阀座密封面与阀芯或阀球的接触,实现密封。 阀座内密封的好坏直..
阀座密封面是指阀座与阀芯或阀球接触的平面。在制造阀座密封面时,通常采用的加工工艺,确保阀座密封面的平整度和光洁度。通过阀座密封面与阀芯或阀球的接触,实现密封。 阀座内密封的好坏直..
阀座内密封是指在阀门的阀座部分进行密封处理,以确保阀门的密封性能。阀座内密封一般采用填料密封或金属密封两种方式。 填料密封是指在阀座和阀瓣接触面之间填充一定的填料材料,如聚四氟乙..
阀座是阀门内可拆卸面部件,用于支撑阀芯全关位置,并构成密封副。一般阀座直径即为阀门大流通直径。比如说蝶阀的阀座材质非常广泛, 各类橡胶, 塑料, 金属材料均可作为阀座材质, 例如: EP..
阀座密封面是指阀座与阀芯或阀球接触的平面。在制造阀座密封面时,通常采用的加工工艺,确保阀座密封面的平整度和光洁度。通过阀座密封面与阀芯或阀球的接触,实现密封。 阀座内密封的好坏直..
选用软阀座应考虑的材料性质是 1)流体兼容性,包括膨胀、硬度损失、渗透性、降解; 2)硬度; 3)永久变形; 4)荷载消除后的恢复程度;O型密封圈的特点有哪些? O型密封圈特点:O形密封..
阀座是阀门内可拆卸面部件,用于支撑阀芯全关位置,并构成密封副。一般阀座直径即为阀门大流通直径。比如说蝶阀的阀座材质非常广泛, 各类橡胶, 塑料, 金属材料均可作为阀座材质, 例如: EP..
用途分类 1.按作用分类:分为 轴用密封、孔用密封、防尘密封、导向环、固定密封、回转密封; 2.按材料分类:分为丁腈胶、三元乙丙橡胶、氟橡胶、硅胶、氟硅橡胶、尼龙、聚氨酯、工程塑料等..
选用软阀座应考虑的材料性质是 1)流体兼容性,包括膨胀、硬度损失、渗透性、降解; 2)硬度; 3)永久变形; 4)荷载消除后的恢复程度;O型密封圈的特点有哪些? O型密封圈特点:O形密封..
东莞嘉烨丰电气,主要经营销售各类高低压元器件, 尤其是充气柜钣金件,机加件, 开关机构等, 尤其是是充气柜充气阀,充气阀座,定位销, 机构螺丝,压板螺丝,接地螺母,门锁螺丝, 绝缘子..
阀座、密封圈是一种轴向作用的弹性橡胶密封圈,用作转轴无压密封。密封唇有较好的活动性和适应性,可补偿较大的公差和角度偏差,可防止内部油脂或油液向外漏泄,也可防止外界的溅水或尘埃的侵..
贮存 1. 密封件的存放室温好在30℃以下,避免密封件产生高温老化; 2. 密封件存放在密封包装内,避免和空气中的水分或尘埃接触; 3. 密封件避开强光照射,避免密封件被空气中臭氧侵蚀或提早..
黄页88网提供2026最新生产阀座价格行情,提供优质及时的生产阀座图片、多少钱等信息。批发市场价格表的产品报价来源于共4家生产阀座批发厂家/公司提供的2167844条信息汇总。