作者:mile米乐集团日期:2026-02-14浏览:来源:mile官网

国家知识产权局信息显示,句容嘉晟汽车配件有限公司取得一项名为“一种中置式VVT电磁阀的密封结构”的专利,授权公告号CN223908916U,申请日期为2025年3月。
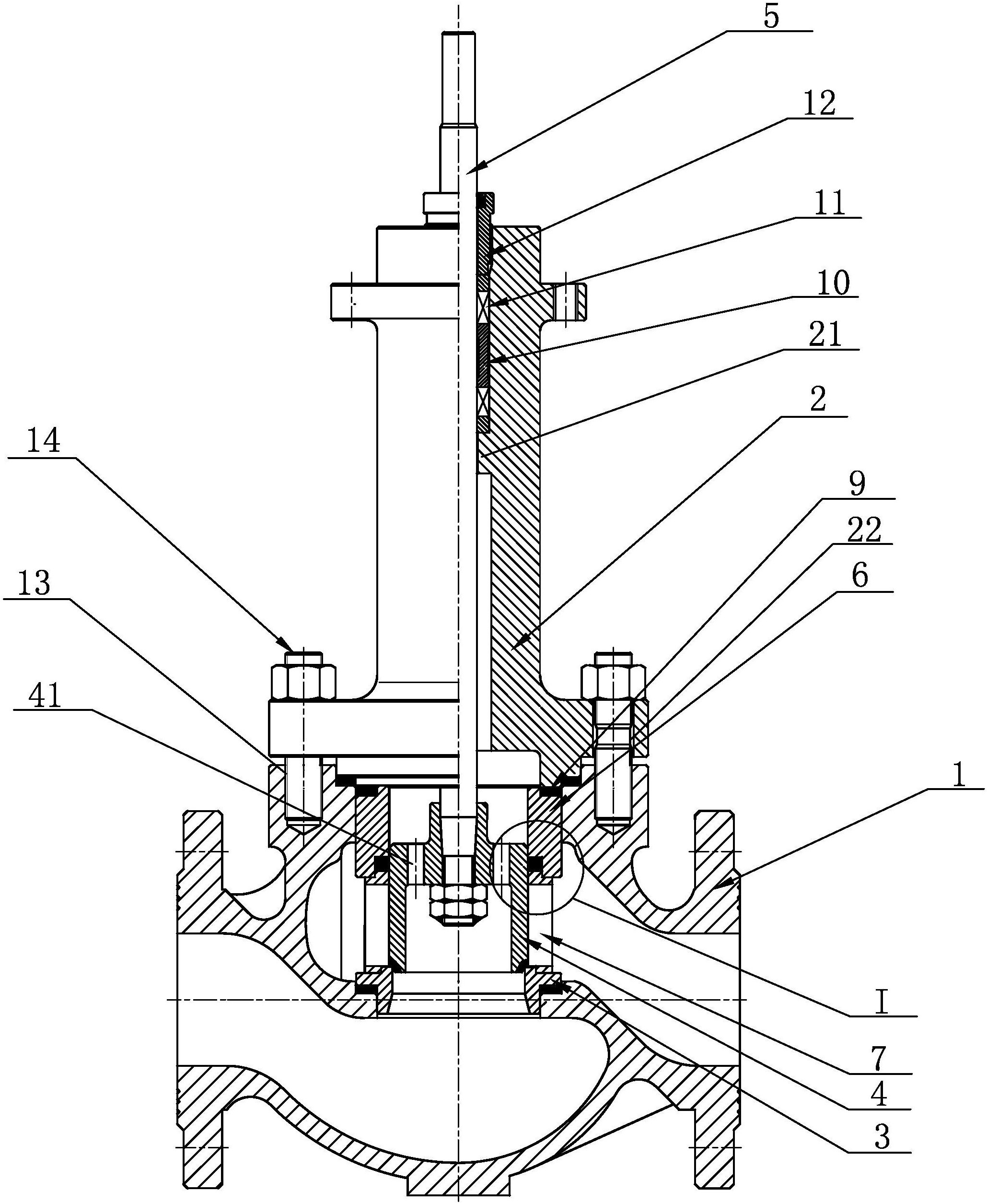
专利摘要显示,本实用新型涉及VVT电磁阀技术领域,提供一种中置式VVT电磁阀的密封结构,包括阀座和法兰盘,所述阀座的两端均固定有法兰盘,所述阀座的顶端固定有阀盖,所述阀盖的底端固定有第一密封圈,所述阀座的内部设置有密封机构,所述密封机构的顶端固定有阀杆。本实用新型通过设置有过滤结构,通过将固定框固定在阀座的进气口,在滤网的作用下,能够过滤介质中的杂质,可以有效保护阀座的内部结构,当卡接块移至卡接槽的外部时,此时固定框与阀座相互分离,以便对滤网进行清理更换,实现了该装置便于过滤杂质的功能,从而提高了该中置式VVT电磁阀的密封结构在使用的适用性。
天眼查资料显示,句容嘉晟汽车配件有限公司,成立于2015年,位于镇江市,是一家以从事汽车制造业为主的企业。企业注册资本1000万人民币。通过天眼查大数据分析,句容嘉晟汽车配件有限公司参与招投标项目1次,专利信息67条,此外企业还拥有行政许可11个。
声明:市场有风险,投资需谨慎。本文为AI基于第三方数据生成,仅供参考,不构成个人投资建议。
上一篇:通过天眼查大数据分析